如何添加ETC卡?

车队管家作为智能化车辆管理系统,已和收费公路通行服务平台(即ETC官方平台)数据打通,支持全国各省的ETC数据导入,同时相关的财务费用也会实时同步至车队管家系统。

第一步:智能调度设置超级管理员
在同步数据前,管理员需要注册或登录票根网https://pss.txffp.com/,绑定公司的ETC和车辆;

第二步:设置数据同步
登录车队管家后台,在“基础信息”中找到“ETC”,点击“票根网导入”,输入账号和密码,点击“马上同步”,即可同步30天内所有车辆的ETC数据(如下图):

(点击数据导入) 

(输入账号密码)  

(同步后的ETC消费记录) 

第三步:财务费用同步(此步无需操作)
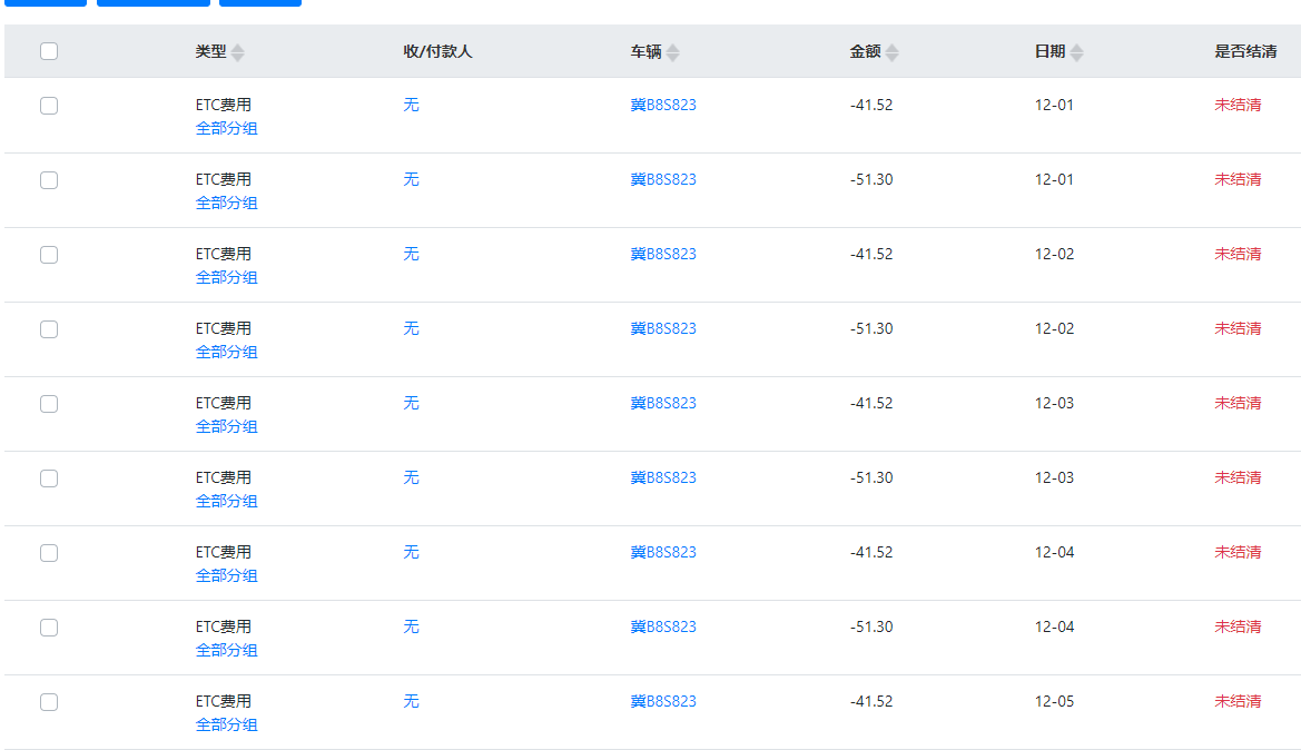
在更新完ETC数据后,后台将实时同步至财务模块,费用数据一目了然(如下图):

(ETC费用明细) 

系统自动生成财务报表,管理员可按月度、季度进行财务审核(如下图):

(财务报表)